手表的防水等级分别代表什么意思(手表防水等级IP是什么意思)
现在耳机、智能手表、智能手机防水性能已经是标配,在产品的防水性能上,你可能遇到过如下所示的神秘代码:IPXY,其中 X 和/或 Y 有时候会被替换为数字,例如 IPX5。这通常被称为 IP 等级。制造商通常会在某个时候将该密码添加到他们的描述中,以衡量其产品的防水和防尘能力。
IP和IPX是什么?
IP、IPX 或 IPXY 都是对产品在防止固体和液体进入并因此可能对你的电子设备造成损害的程度的标准化评级的参考。官方上,IP 代表“国际保护”标记,因为该标准由国际电工委员会开发和维护。但它通常被称为入口保护。字母 IP 后面的两个数字表示你可以期待什么样的保护。
IP等级说明
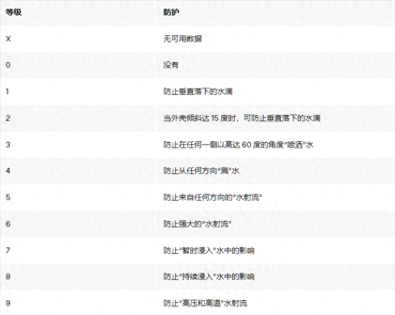
X 是固体/灰尘保护级别,从0到6,其中0表示没有任何保护,6表示它是防尘的:即使暴露长达 8 小时,也不会有灰尘进入。因为很少有消费类设备是为防尘而设计的(大概这不是人们通常需要的东西),所以这部分 IP 等级经常被忽略。这就是为什么我们最常在 IP 后看到 X 的原因,例如 IPX5——这意味着没有固体进入部分的评级。
Y 是从0到8的液体防护等级,其中零意味着没有任何保护,8意味着它可以承受浸入水中(通常深度可达三米)至少 30 分钟。从技术上讲,有第九级液体保护,但它不用于消费电子产品。防水没有“X”级别,因此你永远不会看到表示为 IP2X 的 IP 代码,例如,如果不提供防水保护,它将是 IP20。
这对用户意味着什么?
IPX2
使用 IPX2,你的设备可以承受少量滴水而不会损坏。由于我们大多数人不会经常将我们的小工具放在漏水的水龙头下,因此在实践中这意味着“适度防汗”。当我们回顾等级为 IPX2的TWS耳机时,我们发现它们很容易在 10Km 的跑步中幸免遇难,同时可以在一个汗流浃背的人的耳道内安全无恙。不要试图在流水下清洗这些产品——最好用湿布擦拭。
IPX4
IPX4 提供良好的防溅水保护。请记住,这不是防水——你不应该将 IPX4 产品浸入水中——但对于超活跃的锻炼,甚至在恶劣天气下的长跑马拉松来说,它是一种极好的保护程度。大多数针对运动和积极生活方式的无线或有线耳塞都具有 IPX4 等级,在这些活动中正常使用应该没有问题。
IPX6
IPX6 可以免受强大的水射流的影响,这意味着你可以在淋浴时使用它们而不会产生严重的副作用,但不要养成这种习惯。不要真的把它们放在水下,例如不要去游泳。
IPX7/8
如果你会经常将你的手机、相机或手表掉入室内和室外的水体中,请不要满足于低于 IPX7 的任何东西。这将保护你的产品在一米深的水中免受意外 长达 30 分钟,而 IPX8 允许在更深的水中提供相同的保护时间(具体深度由制造商指定)。
专为水中设计的蓝牙扬声器将至少达到 IPX7 等级,可以放心地将其带入游泳池。我们的许多电子书阅读器的首选也有 X7 或 X8 评级。这些产品可以在温和的流水下安全冲洗,但始终遵循制造商的说明。
数字的防水性
对于真正的水下使用,你将在浮潜或 SCUBA 潜水的地方使用产品,你应该根据潜水员手表的 ISO 6425 标准是寻找潜水员的评级。这些产品经过单独测试,并且必须在比表盘上声称的数字深 25% 的深度下运行。制造商通常保证具有这些等级的手表能够长时间在这些深度重复使用,并且能够处理伴随这些深度下降和上升的压力变化。
数字的防尘性
我们还没有过多地讨论防尘性:这是一个更简单的标准,更容易理解,并且对于那些将他们的设备带入大自然或在可能受到灰尘污染的活跃工作场所的人来说最有用。如果你的设备在第三个 IP 位置有一个数字,这就是它的含义。
防尘和防尘之间的区别可能看起来很模糊,但通常防尘是更严格的等级,涉及灰尘、气流、长时间暴露和真空密封。
IPX8 或 X9 是否意味着它完全防水?
不。防水一词比实际评级更理想。真正防水的产品在任何情况下都不会让水进入。因为这种情况很少发生,所以我们倾向于更多地谈论防水性。IPX7/8 旨在某种短期或意外浸入水中后的存活率的评级 - 它们并不表明你的产品应在水下连续使用。
事实上,即使你看到有防水标志(WR)的产品(通常是手表),例如30M,也不能保证它在水中能幸免遇难。除非另有说明,否则这些产品不会单独进行测试,只有一个全新的示例产品需要通过非常基本的水浸测试,才能使该设计的每只手表都带有 WR 标志。
如果我的产品没有 IP 等级怎么办?
你可能已经注意到,即使没有制造商提供的 IP 等级,许多设备也可以在遇到水或灰尘时幸免于难。你很有可能已经使用未评级的 Apple AirPods 进行了几次大汗淋漓的跑步,将它们擦掉,并且完全没有遇到任何问题。有时是由于良好的设计,有时是运气。IP 等级是唯一真实表明制造商已将产品设计为在这些条件下运行。但请记住——这不是保证。始终检查你的产品保修范围内和不包括的内容。
本文链接:http://sywcj.cn/rm/936.html
版权声明:本文内容由互联网用户自行发布,该文观点仅代表作者本人。本站仅提供信息存储空间服务,不拥有所有权,不承担相关法律责任。如发现本站有涉嫌抄袭侵权/违法违规的内容, 请联系qq:1442716096举报,一经查实,本站将立刻删除。
